Technological and design features of flat- rod elements with usage of composite reinforced concrete

24/09/2014 5:19pm

Автор: Gasii G.M.

Категории: engineering science

New elements in relation to machine building and mining industry with application of construction materials using mount system of mine opening as an example are considered. The elements combine durability and reliability necessary for exploitation. Reliability of composite reinforced concrete is confirmed by experimental and theoretical researches. Flat-rod elements with application of composite reinforced concrete are the results of synthesis of structural, steel and concrete elements, acquired during this advantages and peculiarities, determine their efficiency.
Keywords: open composite reinforced concrete, construction, structure, rod, slab.

UDK 624

Technological and design features of flat- rod elements with usage of composite reinforced concrete

 

Gasii

Gasii G.M.

Ph.D. in Engineering Science,
Docent of Organization and construction technology and protection of labour department,
Poltava National Technical Yuri Kondratyuk University

 

Problem statement in general terms and its connection with important practical tasks

Efficiency of bonding technique is of great importance in modern economic conditions. Constructions should provide enough reliability and be simple in fabrication. In recent years mining and geological conditions during mining works changed for the worst considerably. This happens due to gradual depreciation of existing mountings. Repair or building of new mountings is labour-intensive process and requires large material costs. Considering such state of mining industry, solution of task concerning development and implementation of new and reliable ways of rock lining with minimal costs is of high priority.

Analysis of latest researches and publications

 Disadvantages of existing mount systems give a rise to great amount of researches, focused on the reliability, efficiency and safety of mine opening improvement. Most of the researches are devoted to improvement of design solution  and means of design [3].

Statement of unsettled before parts of general problem

In result of analysis of current state of mining industry and latest researches, one may conclude that today the question of development and study of new ways for secure mounting remains unsolved.

Statement of a problem

 To develop new flat-rod elements of rock lining with the usage of composite reinforced concrete and to study their technological and design features.

Base material for research

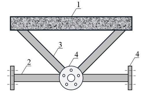
 Having analyzed the fulfilled research [1, 2], advantages and disadvantages of existing  mountings [3], the new type of  mounting construction was suggested - composite reinforced concrete structural support systems. Assignment of such systems is to provide heavy duty of opening due to increase ofmounting holding capacity. Main point of such constructions is in reduction of production costs, installation lead time and in securing of necessary stiffness and integrity. Support system consists of steel cancellation structure and reinforced concrete slab (fig.1).
Suggested mountings may be used during development of underground deposits and laying of horizontal, vertical and inclined openings. Design feature of mounting is that the steel lattice in it works together with  reinforced concrete slab, herein the slab replaces the top boom of framed – archy systems and fulfills preventive function. Such space system of mountings has great stiffness.


Figure 1. Plane-rod element of composite reinforced concrete structural system

                           1 - reinforced concrete slab; 2 – steel tube; 3 – lattice element; 4 - flange

During design of mountings there is a task to get rid of the disadvantages of steel and concrete elements. The question concerning the choice of strength grade of concrete, steel tubes grade, acceptance of reinforcement ratio is of great importance.
Basic materials for manufacturing of such support system are concrete and steel tubes. Heavy concrete of the following project classes В12,5; В15; В20; В25; В30; В40; В45 should be applied. Steel electric-welded tubes should be used.
Technological peculiarity of developed mounting system is that they are assembled from separate parts (figure 1). Combination of elements into mounting construction is made with the help of flanges. During assemblage there may be some tolerances across the length of elements, but if the tolerances are significant (more than 0.6 sm), it will be impossible to remove them by simple bolt tensioning, special means, which are applied for usual flange mounting, must be used. It is not allowed   thread of a screw torn, if it falls outside the range of the middle diameter of the screw in depth or their length exceeds 8 % of the total screw length in helical curve.
Combined action of steel rods and reinforced concrete slab is provided due to the reliable joint connections.

Conclusions and prospects for the development in this direction 

Design and technological features of the developed support system allow to save on material due to their rational use - reinforced concrete slab protects from the rock fall, takes up pressure from the ground and equidistributes it into steel elements of the lattice. Usage of developed design elements allows to road lining in deep depth. It is stated that elements of support construction work together under loads. The way of combination of reinforced-concrete and steel elements provide holding capacity of all the construction.

References

  1. Storozhenko L.І., Ermolenko D.A., Gasіy G.M., Gladchenko Yu.L. (2012). Experimental research of models of structural cable-stayed steel and concrete structure. Galuzeve mashinobuduvannya, budіvnitstvo. No 3. p. 243–249.
  2. Storozhenko L.І., Timoshenko V.M, Nizhnik O.V., Gasіi G.M., Murza S.O. Doslіdzhennya і proektuvannya stalezalіzobetonnikh strukturnikh konstruktsіy [Research and designing of composite reinforced concrete of structural construction]. Poltava, ASMІ, 2008, 262 p.
  3. Buys B. J., Heyns Р. S., Loveday P. W. (2009).  Rock bolt condition monitoring using ultrasonic guided waves. The Journal of the Southern African Institute of Mining and Metallurgy. p. 95–105.


Презентация

Контакты

Контакты

"Metaljournal" publishing
[email protected]
Dnipro

Project manager - Volodymyr Grynov

 

Партнеры