Автор: Балакин В.Ф.,Угрюмов Ю.Д., Угрюмов Д.Ю., Белан К.С.
Категории:
трубное производство
История, состояние, перспективы развития трубопрокатных агрегатов с пилигримовыми станами. Конструкции пилигримовых станов.
УДК 621.774.36

Балакин Валерий Федорович
Заведующий кафедрой технологического проектирования
Доктор технических наук, профессор
Национальная металлургическая академия Украины
Угрюмов Юрий Дмитриевич
Ведущий инженер Института развития ОАО «Интерпайп НТЗ»
Кандидат технических наук
ОАО «Интерпайп НТЗ»
Угрюмов Дмитрий Юрьевич
Ведущий специалист отдела анализа качества
ОАО «Интерпайп НТЗ»
Белан Константин Сергеевич
Ассистент кафедры технологического проектирования
Национальная металлургическая академия Украины
Памяти В.М. Друяна1 (1932 – 2004)
Производство труб на пилигримовых агрегатах: состояние и перспективы
Кажется невероятным, но еще 120 лет назад трубы получали лишь отливкой из чугуна или формовкой полос пудлингового2 железа и кузнечной сваркой. В результате революционного изобретения братьев Маннесманн, которые предложили сначала получение из круглой заготовки (слитка) полой толстостенной трубы (гильзы) методом винтовой прошивки на короткой профильной оправке [1], а затем способ периодической раскатки гильзы на цилиндрическом дорне в тонкостенную трубу[2], был создан процесс горячей пилигримовой прокатки труб широкого сортамента, который остается востребованным и в 21 веке.
В 70-е годы прошлого столетия в мире насчитывалось около 80 пилигримовых агрегатов, что соответствует примерно 160 пилигримовым станам, так как на одном агрегате эксплуатируются в среднем по два пильгерстана, работающих параллельно.
По данным 1987 года в мире эксплуатировалось 49 пилигримовых агрегатов с 98 пильгерстанами.
В результате морального и физического износа оборудования число действующих пилигримовых агрегатов продолжает сокращаться. При этом часть агрегатов была остановлена из-за падения спроса особенно на трубы нефтяного сортамента, другая часть претерпела реконструкцию с заменой способа производства.
Еще 10 лет назад в Украине и России работало 7 пилигримовых агрегатов с 14 пильгерстанами: 3 агрегата в Украине и 4 – в России.
В настоящем времени число действующих пилигримовых агрегатов в Украине и России сократилось до четырех, при этом в Украине эксплуатируется только агрегат 5-12” на ОАО «Интерпайп НТЗ».
В современных условиях резкого колебания спроса на трубы на мировых рынках, низкого спроса на трубы на внутреннем рынке перспектива развития трубного производства (речь идет о горячекатаных бесшовных трубах) состоит в переориентации на универсальные способы производства труб, на которых экономически целесообразно производить как малые, так и большие партии труб.
Пилигримовый способ как раз и относится к таким универсальным способам производства, так как переход на другой размер труб на пильгерстане занимает значительно меньше времени чем, например, на непрерывном многоклетьевом стане.
Ввиду уникальности сортамента большие пилигримовые агрегаты находятся вне конкуренции и продолжают успешно эксплуатироваться в мире. Ранее в мире насчитывалось 12 таких агрегатов, причем один 8-16” работает на Челябинском трубопрокатном заводе.
Малые пилигримовые агрегаты ввиду морального и физического износа останавливаются (консервируются) или реконструируются с заменой способа производства, в основном на непрерывный.
Средние и большие пилигримовые агрегаты, как следует из технической литературы, проходят поэтапную модернизацию и реконструкцию без остановки производства.
В настоящее время на ОАО «Интерпайп НТЗ» имеются два пилигримовых агрегата, первый 6-12” по схеме Маннесмана пущен в 1935 году, второй 5-12” по схеме Кальмеса пущен в декабре 1968 года.
Оборудование первого агрегата изготовлено немецкой фирмой «Маннесман-Демаг», оборудование второго агрегата Чепельским машиностроительным заводом (Венгрия).
Агрегат 5-12” находится в постоянной эксплуатации, а агрегат 6-12” законсервирован в связи с оптимизацией производства.
Как следует из информационных источников[3] примерно 97% общего количества стальных горячекатаных труб в настоящее время производится на трубопрокатных агрегатах (ТПА) четырех видов: около 40% на ТПА с автоматическим станом или станом тандем; более 22% на ТПА с непрерывным оправочным станом; примерно 18% на ТПА с пилигримовым станом; до 10% на ТПА с трехвалковым раскатным станом. Приведенные данные свидетельствуют о важной роли, которую играет пилигримовый способ в производстве горячекатаных стальных труб.
Вопрос о судьбе пилигримового агрегата 5-12” ОАО «Интерпайп НТЗ» является актуальным в плане его дальнейшей модернизации или реконструкции с заменой способа производства.
Ставя задачи повышения эффективности работы ТПА путем модернизации и реконструкции мы часто знаем, что хотим получить в результате. Однако, к сожалению возникают большие трудности при достижении поставленных целей с наименьшими затратами в современных социально-экономических условиях, диктующих минимальные сроки окупаемости затраченных средств. Поэтому чем более масштабные задачи решаются предприятием в рамках программы технического перевооружения, тем большие риски, связанные с принятием недостаточно проверенных и эффективных решений. Следовательно принимаемые решения по перевооружению предприятия должны быть глубоко и всесторонне проработанными и максимально надежными. В связи с этим приоритет необходимо отдавать тем решениям, которые были опробованы на практике.
Пилигримовый способ производства труб обладает неоспоримым преимуществом и прежде всего по широте сортамента получаемых труб, как по диаметру и толщине стенки, так и по маркам стали[4].
В то же время к недостаткам этого способа производства труб можно отнести следующее:
- недостаточная производительность пилигримовых станов;
- повышенная разностенность готовых труб;
- увеличенный расходный коэффициент металла при прокатке тонкостенных труб.
На протяжении длительного периода основными направлениями совершенствования процесса горячей пилигримовой прокатки труб считались следующие[5-11]:
- применение качественной непрерывнолитой заготовки, цена которой будет ниже цены слитков отлитых в изложницы;
- применение второго горячего передела труб после пильгерстана.
Почти 40 лет в мире используют непрерывнолитую заготовку для производства труб на ТПА с пилигримовым станом.
В настоящее время в связи с пуском в 2012 году ЭСПК «Днепросталь» на ТПА 5-12” начала поступать круглая непрерывнолитая заготовка, что позволит снизить расход металла.
Использование второго горячего передела труб после пильгерстана, когда последний является, по сути, заготовочным станом, позволяет резко улучшить все технико-экономические показатели ТПА, а именно: повысить производительность пильгерстана в 1,5-2 раза за счет увеличения подачи, повысить точность прокатываемых труб за счет снижения разностенности.
При этом после пилигримовой прокатки и подогрева трубы раскатывают на трех- или двухвалковых раскатных станах (риллингах) с последующим калиброванием по наружному диаметру.
Однако в настоящее время направление применения второго горячего передела на ТПА с пильгерстанами перестало быть приоритетным по следующим причинам:
- достигнут большой прогресс в создании современных подающих аппаратов, позволяющих повысить производительность ТПА и точность прокатываемых труб;
- происходит усложнение технологии в связи с установкой двух косовалковых раскатных станов (риллингов) и соответствующее увеличение затрат;
- требуется удаление образовавшейся на трубе после подогрева окалины (особенно внутри), что обуславливает размещение специальной установки для сбива окалины, которая ранее не использовалась в производстве.
Современными тенденциями в развитии процесса горячей пилигримовой прокатки труб являются[12,13]:
- применение круглой непрерывнолитой заготовки;
- использование современных подающих аппаратов;
- автоматизация процесса пильгерования.
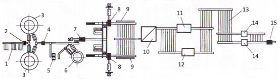
Пилигримовый агрегат 5-12”, спроектированный по схеме Кальмеса, включает следующее основное оборудование, изображенное на рис. 1.

Рис. 1. Пилигримовый агрегат 5-12” ОАО «Интерпайп НТЗ» 1 – загрузочная решетка, 2 – весы, 3 – кольцевая нагревательная печь, 4 – установка гидросбива окалины, 5 – прошивной горизонтальный гидравлический пресс, 6 – кольцевая подогревательная печь, 7 – стан-элонгатор, 8 – пильгерстан, 9 – огневая резка труб, 10 – подогревательная печь с шагающими балками, 11 – 12-ти клетьевой калибровочный стан, 12 – 5-ти клетьевой калибровочный стан, 13 – холодильник, 14 – правильная машина, 15 – установка выдувки окалины.
В связи с переходом на использование в качестве исходного материала круглой непрерывнолитой заготовки наиболее целесообразным направлением модернизации ТПА 5-12” является применение прямой прошивки круглой заготовки в гильзу путем исключения из технологической линии прошивного гидравлического пресса 5 и кольцевой подогревательной печи 6.
При этом стан-элонгатор должен быть заменен на прошивной косовалковый стан, так как клеть стана-элонгатора морально и физически изношена. Это обеспечит экономию энергоресурсов и повышение точности труб.
Актуальным вопросом является также размещение весов за установкой 15 выдувки окалины, что позволит более оперативно контролировать расход металла на участке проката.
С целью повышения точности труб актуальным является контроль массы погонного метра труб за пильгерстаном, что также позволит осуществлять оперативное управление средней толщиной стенки труб при прокатке.
Новые конструкции подающих аппаратов фирмы «МД» (Германия) отвечают современным требованиям, так как обеспечивают стабильную величину подачи металла в валки за счет применения гидромеханического механизма подачи, одного из главных условий повышения производительности пильгерстанов, точную кантовку гильзы в каждом цикле на 90° независимо от величины отката, надежное торможение раската при подаче в валки и автоматизацию процесса пилигримовой прокатки, в том числе затравки. Проблема состоит в том, что цена этих аппаратов достаточно высока (~ 8 млн. евро/шт), а для двух пилигримовых станов их нужно не менее 4-5.
С учетом этого целесообразен путь более глубокого исследования действующих на ТПА 5-12” подающих аппаратов и проведения на них возможных модернизационных мероприятий.
В связи с постепенным переходом на ТПА 5-12” на использование в качестве исходного материала круглой непрерывнолитой заготовки актуальным является вопрос снижения потерь металла в технологическую обрезь: затравку и пильгерголовку.
На рис. 2 приведена прокатанная на пильгерстане «плеть», которая состоит из основной годной части 2, длина которой ℓn является суммой мерных (кратных) частей, затравочного дефектного конца 1, длиной ℓnк. В свою очередь длина ℓnк складывается из ℓ1 – длины разлохмаченного конца и ℓ2 – длины участка повышенной разностенности.

Рис. 2. Прокатанная «плеть» на пилигримовом стане
1 – затравочный конец, 2 – основная годная часть трубы,
3 – пилигримовая головка.
Задний конец раската длиной ℓ3, удаляемый в обрезь, состоит из цилиндрического участка ℓц, собственно пилигримовой головки 3, длиной ℓг, и длины ℓх – участка с повышенной разностенностью, так называемого «хвоста».
Общие технологические потери металла на пилигримовом стане составляет 6-9% от массы исходной заготовки (слитка). При этом потери металла в пильгерголовку составляет ~75%, а в затравку ~25% от технологических потерь на пилигримовом стане.
Фактическая величина потерь металла в затравку и пильгерголовку зависит от размера прокатываемых труб: диаметра и толщины стенки, а относительная величина этих потерь от длины прокатываемых труб (одно, двух или трехкратной длины), причем с увеличением длины трубы относительная величина потерь металла снижается.
Масса обрези трубы на пилигримовом стане может быть определена по известной эмпирической формуле:
,
где Sn – толщина стенки трубы на пилигримовом стане, м;
gn – масса 1 погонного метра трубы за пильгерстаном, кг/м;
gг – масса 1 погонного метра гильзы, кг/м.
Величина отрезаемого на пильгерстане затравочного конца должна быть минимальной и устанавливается в зависимости от состояния затравочного конца (сильно растрепанный конец, наличие закатов, трещин, плен и повышенной разностенности) в пределах:
- от 200 мм (для труб с толщиной стенки Sn>12 мм);
- до 700 мм (для труб с толщиной стенки Sn<12 мм).
Фактически величина обрези всегда больше и по массе составляет 35-120 кг. Длина удаляемой пильгерголовки ℓг устанавливается в пределах от 400 до 500 мм, в зависимости от диаметра валков и при условии качественной обкатки (3-4 удара валков без подачи металла). Недостаточно качественно обкатанные пильгерголовки обрезаются на всю длину «уса». Фактические потери металла в пильгерголовку (ℓ3) составляют от 75 до 200 кг.
На Нижнеднепровском трубопрокатном заводе совместно с Днепропетровским металлургическим институтом и Всесоюзным научно-исследовательским институтом трубной промышленности в 70-80-х годах прошлого столетия проводились исследования по совершенствованию затравочного режима пилигримовой прокатки труб с целью снижения затравочной обрези и уменьшения времени затравки.
Предложенный в ДМетИ способ [14] подготовки передних концов гильз на косовалковом прошивном стане позволяет на 1,8-3,6 % повысить производство труб. В результате проведенных лабораторных и промышленных исследований были разработаны и внедрены в производство установки для подготовки передних концов гильз сначала на ТПА 6-12”, а затем на ТПА 5-12” [15,16].
Более совершенная установка для подготовки передних концов гильз путем их обкатки холостыми валками на выходной стороне стана-элонгатора ТПА 5-12” приведена на рис. 3 и 4.

Рис. 3. Схема оборудования для обкатки передних концов гильз на косовалковом стане 1 – клеть косовалкового прошивного стана (элонгатора), 2 – обкатное устройство, 3 – холостые валки для обкатки переднего конца гильзы, 4 – оправка.

Рис. 4. Общий вид обкатной машины со стороны упорно-регулировочного механизма
Принципиальная схема обкатки передних концов гильз на выходной стороне косовалкового стана приведена на рис. 5. Особенностью процесса является нахождение гильзы 8 одновременно в двух очагах деформации: основного, образованного приводными валками 1, и дополнительного, образованного холостыми валками 3. При этом обкатка переднего конца гильзы осуществляется холостыми валками 3 на цилиндрической оправке 5 за счет усилия со стороны валков 1 прошивного стана. Для сведения холостых валков 3 на размер калибра и разведения после обкатки используется гидроцилиндр 4. Холостые валки 3 расположены попарно в двух кассетах 2, связанных с гидроцилиндрами 4.

Рис. 5. Принципиальная схема процесса прошивки гильз с обкаткой переднего конца 1 – валок прошивного стана, 2 – кассета, 3 – холостой валок обкатного устройства, 4 – гидроцилиндр, 5 – цилиндрическая оправка, 6 – стержень, 7 – заготовка, 8 – гильза, 9 – упорно-регулировочный механизм
При проведении исследований на стане-элонгаторе ТПА 5-12 ” были достигнуты следующие технологические параметры при обкатке переднего конца гильзы:
- обжатие по диаметру гильзы 25 - 30 %;
- обжатие по толщине стенки 40 - 60 %;
- длина подготовленного переднего конца гильзы 200 - 250 мм;
- угол наклона образующей конического подготовленного конца гильзы 7 - 12°.
Межочаговая деформация гильзы при исследованных параметрах незначительна, что подтверждается обмерами в холодном состоянии гильз. При этом локальное увеличение диаметра гильзы не превышает 2 %, что не затрудняет процесса пилигримовой прокатки. Время деформации переднего конца гильзы в холостых валках при обкатке составляет 3 - 5 с и практически не влияет на производительность стана-элонгатора. Нагрузки на двигатель стана-элонгатора в процессе одновременной раскатки гильзы и обкатки ее переднего конца в холостых валках повышаются на 10 - 15 % по сравнению с процессом раскатки гильзы. Это повышение нагрузки соответствует ее увеличению при прошивке донышка стакана в момент окончания раскатки гильзы.
На рис. 6 приведены формы передних концов гильз (а и б) и гильз с подготовленными передними концами, при этом длина переднего конца ℓц (рис. 6, в) равна примерно половине развертки профиля бойка пильгервалка и составляет 150-250 мм. Ограничением здесь является в основном подстуживание переднего конца, что неблагоприятно для последующей деформации гильзы в трубу на пильгерстане.

Рис. 6. Формы передних (а,б,в) и задних (в,г) концов гильз 1 – основная часть гильзы, 2 – передний конец, 3 – задний конец
Задний конец гильзы (рис. 6, в) после прошивного стана имеет несколько меньшие размеры наружного и внутреннего диаметров (Dз<Dг и dз< dг), что приводит к необходимости уменьшения диаметра цилиндрической оправки 5 (рис. 5) для повышения надежности выдачи гильзы из стана после прошивки с обкаткой переднего конца. В свою очередь это вызывает увеличение редуцирования переднего конца гильзы при обкатке и усложняет последующую зарядку в нее дорна перед пилигримовой прокаткой.
Одним из способов стабилизации наружного диаметра гильзы по длине при прошивке является перемещение оправки прошивного стана в момент окончания процесса в направлении, противоположном направлению прошивки [17]. Это позволяет увеличить раскатку заднего конца гильзы на оправке и обеспечить не только стабилизацию наружного диаметра, но и увеличение внутреннего диаметра гильзы к заднему торцу (рис. 6, г).
Необходимое перемещение оправки прошивного стана можно определить из выражения [14]:
,
где
– утонение стенки заднего конца гильзы;
– угол выходного конуса на валке и оправке прошивного стана.
При этом значительно облегчается процесс снятия гильзы с оправки и последующая зарядка дорна в гильзу с подготовленным передним концом. Такая подготовка передних концов гильз обеспечивает не только снижение потерь металла в затравку, но и сокращение длительности затравочного режима прокатки.
Суммарная эффективность этой технологии по данным Укргипромеза заключается в приросте 12 тыс. тонн труб (3,6 %) в объеме производства ТПА 5-12” 330 тыс. тонн труб в год (данные 1972 года).
Проблемным остается вопрос уменьшение массы пилигримовой головки при прокатке тонкостенных труб, основного сортамента ТПА 5-12”. Исследования показали, что при прокатке тонкостенных труб наиболее реальным является уменьшение объема обрези за счет полной раскатки цилиндрического участка, длиной ℓц, примыкающего к переменной части головки (рис. ).
Масса этого участка может быть определена по формуле:
,
где
– масса погонного метра гильзы, кг/м, приведена в таблице прокатки;
ℓц – длина цилиндрического участка пильгерголовки, м.
В таблице 1 в качестве примера приведены массы погонного метра гильз при прокатке труб на ТПА 5-12” ОАО «Интерпайп НТЗ» из непрерывнолитой заготовки.
Таблица 1
Масса погонного метра гильз
Стандарт |
Размер готовых труб DxS, мм
|
Масса 1 п.м. гильз, кг/м
|
|
API 5L
|
168,28 x 6,35
|
321
|
|
API 5L
|
219,08 x 6,35
|
383
|
|
API 5L
|
323,85 x 7,14
|
585
|
|
API 5L
|
355,60 x 20,62
|
689
|
|
API 5L
|
355,60 x 3,75
|
835
|
Для размеров труб, приведенных в таблице, построены графики зависимости Мц от ℓц (рис. 7)

Рис. 7. Зависимость Мц от ℓц 1 – 168,28х6,35 мм; 2 – 219,08х6,35 мм; 3 – 323,85х7,14 мм; 4 – 355,60х20,62 мм; 5 – 355,60х31,75 Рис. 6. Формы передних (а,б,в) и задних (в,г) концов гильз
Из рис. 7 можно наглядно оценить перерасход или экономию металла при различной степени раскатки цилиндрического участка гильзы. В результате экономится в среднем около 30 кг на одной пильгерголовке, что позволит снизить расходный коэффициент металла примерно на 1,0-1,5 %.
Одним из методов уменьшения массы пильгерголовки является выполнение конического утолщения 4 на участке дорна под пильгерголовкой (рис. 8).

Рис. 8. Гильза на дорне перед пилигримовой прокаткой 1 – гильза; 2 – передний конический конец гильзы; 3 – дорн; 4 – конический хвостовик дорна; 5 – дорновое кольцо; 6 – дорновая головка. Рис. 6. Формы передних (а,б,в) и задних (в,г) концов гильз
При этом достигается улучшение центровки гильзы на дорне перед и в процессе прокатки, что повышает точность труб по толщине стенки, особенно в конце прокатки.
На пилигримовых станах фирмы «Маннесман-Демаг» подготовку заднего конца гильзы осуществляют на участке внестановой зарядки. После введения дорна в гильзу ее задний конец обжимают матрицами на прижимном прессе для увеличения сцепления гильзы с дорном в начальный период прокатки, что позволяет увеличить производительность пильгерстана за счет повышения числа оборота валков. При этом одновременно улучшаются и условия затравки, так как гильза кантуется вместе с дорном, что уменьшает время затравки.
Использование подобного прижимного пресса на ТПА 5-12” с целью получения заостренного переднего конца гильзы не дало положительных результатов, что привело к его демонтажу.
Реальностью сегодняшнего рынка горячекатаных труб является значительный рост заказов малотоннажной продукции. С учетом имеющегося высокопроизводительного прокатного оборудования значительно усугубилась проблема поставки труб малотоннажными партиями. Экономически целесообразный объем заказываемой партии должен быть не менее 100 тонн. В реальности приходится брать заказы и менее 10 тонн. Из-за увеличения количества перевалок валков и настроек станов возникают большие затраты времени, что снижает выпуск продукции. Сложность выполнения мелких заказов обусловлена подготовкой исходного металла, прокатного инструмента, привалковой арматуры, управления раскроем и др.
Пилигримовый стан, как уже отмечалось, является достаточно универсальным при прокатке разных объемов партий труб.
В связи с увеличением числа малотоннажных заказов актуальным является снижение затрат времени на перевалку валков пилигримового стана.
По данным фирмы «Маннесман-Демаг» на ее пильгерстанах время перевалки доведено до 5 минут при 25 минутах на отечественных станах.
При работе с малотоннажными заказами целесообразно осуществлять калибровку труб на одноклетьевых станах. На современном автоматизированном двухвалковом калибровочном стане «Маннесман-Демаг» за 5-6 проходов осуществляют получение необходимого диметра труб. При этом калибр валков автоматически изменяется по заданной программе.
Вопрос замены пилигримового способа производства труб для среднего агрегата 5-12” ОАО «Интерпайп НТЗ» на другой, например, непрерывный с удерживаемой оправкой нецелесообразен по следующим причинам:
- Сортамент ТПА 5-12” практически соответствует сортаменту непрерывного агрегата «159-426» Волжского трубного завода.
- Производительность ТПА 5-12” в результате модернизации может быть несколько увеличена за счет снижения брака и расходных коэффициентов металла в связи с полным переходом на круглую непрерывнолитую заготовку.
- Непрерывный способ производства труб экономически целесообразен только при прокатке крупнотоннажных партий труб. В то время как пилигримовый способ является в этом плане универсальным.
- Использование на непрерывном агрегате оправок длиной около 20 метров и массой до 20 тонн приводит к затруднению их обслуживания, и значительно увеличивает расходы на прокатный инструмент.
Выводы
- Производство труб на пилигримовых агрегатах продолжает оставаться одним из самых распространенных в мире для получения горячекатаных труб широкого сортамента по размерам и маркам сталей.
- Опыт эксплуатации пилигримовых агрегатов немецкой фирмы «Маннесман-Демаг» показывает, что у действующих немодернизированных агрегатов есть значительные резервы улучшения всех технико-экономических показателей за счет проведения технического перевооружения.
- Использование в качестве исходного материала круглой непрерывнолитой заготовки для производства труб на пилигримовом агрегате 5-12” ОАО «Интерпайп НТЗ» позволяет перейти к ресурсо- и энергосберегающей схеме получения гильзы непосредственно из заготовки.
- Проведенные промышленные исследования снижения технологической обрези в затравку и пильгерголовку являются основой для разработки оборудования и технологии с целью снижения расходного коэффициента металла.
- С целью снижения потерь рабочего времени при прокатке малотоннажных партий труб особое внимание необходимо уделить сокращению длительности перевалок на станах.
- Действующий пилигримовый агрегат 5-12” ОАО «Интерпайп НТЗ» целесообразно модернизировать и реконструировать с учетом перехода в качестве исходного материала на непрерывнолитую заготовку круглого сечения.
Список литературы
- Пат. № 34167, Германия от 27.01.1885.
- Пат. № 58762, Германия от 24.02.1891.
- Стасовский Ю.Н. и др. Проектирование современных производств обработки металлов давлением: учебник / Ю.Н.Стасовский, Ю.С.Кривченко, Г.С.Бабенко; под.ред. д.т.н. Ю.Н.Стасовского.-Днепропетровск: Монолит,2009.-745с.:ил.
- Производство труб на установках с пилигримовыми станами/ В.М. Друян, В.В. Перчаник, Г.Н. Кущинский, Г.А. Карпов. - М. : Металлургия, 1973. - 239 с.
- Модернизация и развитие процесса производства труб на агрегатах с пилигримовым станом/О.А. Пляцковский, Б.Г. Павловский, Ю.Д. Угрюмов и др. М. 1982 (обзорная информация/ин-т «Черметинформация», сер. «Трубное производство», вып. 2, 27с.)
- Анализ и пути совершенствования процессов горячей раскатки труб/Б.А. Романцев, А.В. Гончарук, В.К. Михайлов и др. Сталь, 2002, №12, с. 44-47.
- Осадчий В.Я. Техническое перевооружение трубной промышленности. Сталь, 1998, № 7 с.50 -53.
- Осадчий В.Я. Пути совершенствования производства бесшовных труб. Производство проката, 1998, №11-12, с. 20-25.
- Основные направления при проектировании трубопрокатных агрегатов с пильгерстанами/ И.С.Ревес, П.М.Финагин, И.К.Тартаковский. Металлургическое оборудование (НИИИНФОРМТЯЖМАШ), 1967г. с. 3-11.
- Реконструкция ТПА 8-16 дюймов с пилигримовыми станами/Н.П. Карпенко, Ю.А. Медников, Н.И. Сергеев и др. Сталь, 1983, №1, с.49-50.
- Повышение эффективности прокатки труб на пилигримовых установках/О.А. Пляцковский, Ю.Д. Угрюмов, В.М, Статников и др. Металлургическая и горнорудная промышленность, 1982, №1, с. 19-20.
- Стасовский Ю.Н. Перспектива пилигримовой прокатки в современных условиях. «Металл Бюллетень». Украина, 2006, №6, с. 80-84.
- Горячее пильгерование стальных труб с помощью усовершенствованных технологических решений и оборудования/SMS MEER.- Hüttentechnik. – 2005. – 31с.
- А.с. №169049. СССР, Способ производства труб на трубопрокатной установке с пильгерстанами./А.П. Чекмарев, Я.Л. Ваткин, А.А. Чернявский и др. Б.И., 1965, №6.
- Совершенствование процессов горячей прокатки труб / В. Ф. Балакин, Ю.С. Кривченко, В.В. Перчаник// Сталь. - 2006. - № 9. - с. 73-79.
- Металлосберегающие технологии горячей прокатки труб / Ю. С. Кривченко, В.Ф. Балакин, Ю.Д. Угрюмов и др. // Сталь. - 2010. - № 4. - с. 67-72 :
- Пат. №2138348 РФ. Способ горячей прокатки бесшовных тонкостенных труб/Б.И. Тартаковский, Н.П. Рябихин, М.А. Минтаханов и др. Б.И., 1999, №27.
- Тартаковский Б.И. Особенности производства тонкостенных труб на агрегате с трехвалковым станом // Сталь. -2009. - №11. - с. 71-72.
1Друян Владимир Михайлович (родился 19 июня 1932 г.) – известный ученый и специалист в области трубного производства, доктор технических наук, профессор, основатель и заведующий кафедрой технологического проектирования Национальной металлургической академии Украины, Заслуженный деятель науки и техники Украины, академик Академии инженерных наук Украины.
2Пудлингование – металлургический процесс преобразования чугуна в мягкое малоуглеродное железо, которое хорошо сваривается, обладает высокой пластичностью, содержит мало примесей(фосфора, серы, неметаллических включений). Этот процесс был вытеснен более совершенными процессами – бессемеровским, томасовским и мартеновским, а впоследствии – электроплавкой.