Автор: Балакин В.Ф., Стасевский С.Л., Угрюмов Ю. Д.
Категории:
трубное производство
Значительная величина потерь металла в технологическую обрезь на пилигримовом стане в затравку и пильгерголовку, по сравнению с другими раскатными станами, обусловлена особенностями процесса горячей пилигримовой прокатки труб, характеризующими значительными деформациями и подпором на гильзу со стороны подающего аппарата.
При этом потери металла в технологическую обрезь на пилигримовом стане достигают 10 % и более от массы исходной заготовки, в том числе на пильгерголовку приходится 75 %, а на затравку – 25 % от технологической обрези на пилигримовом стане.

Балакин Валерий Федорович
Заведующий кафедрой технологического проектирования
Доктор технических наук, профессор
Национальная металлургическая академия Украины
Белан C. Л.
Угрюмов Ю. Д.
УДК 621.774.36
К 70 летию со дня рожения
В.Я. Кармазина
(03.03.1944 – 11.09.2006)
ПУТИ СНИЖЕНИЯ ПОТЕРЬ МЕТАЛЛА
НА ПИЛИГРИМОВОМ СТАНЕ
Проблема снижения потерь металла в затравку и пильгерголовку в последнее время стала особенно актуальной в связи с переходом ТПА 5-12'' ПАО «Интерпайп НТЗ» на использование в качестве исходной заготовки НЛЗ круглого поперечного сечения, поставляемой заводом «Интерпайп Сталь».
Анализ литературы. Вопросам уменьшения потерь металла в технологическую обрезь на пилигримовом стане посвящены исследования, выполненные в НИИ, вузах и на трубных заводах [1-3]. Наиболее полно вопросам уменьшения затравки посвящены работы ДМетИ, ВНИТИ, Укргипромеза, трубопрокатных заводов и др. [4-5]. На Нижнеднепровском трубопрокатном заводе впервые была внедрена установка для подготовки передних концов гильз на косовалковом стане (элонгаторе) ТПА 5-12''.
Вопросам снижения массы пильгерголовки посвящены работы ДМетИ, ВЗМИ, Укргипромеза, трубопрокатных заводов [6-8]. В результате были решены проблемы прокатки толстостенных труб с S≥20 мм без пильгерголовки. Значительно меньшие успехи были достигнуты при прокатке тонкостенных труб с S≤20 мм, что обусловлено особенностями процесса прокатки на пилигримовом стане с подпором на гильзу со стороны подающего аппарата.
Ключевые слова: обрезь, труба, пилигримовый стан, затравка, пильгерголовка, объем производства.
Постановка задачи. Анализ литературы показывает, что существует на сегодняшний день достаточно большое число технических предложений по снижению потерь металла в затравку и пильгерголовку, причем часть из них, преимущественно, для прокатки толстостенных труб с S≥20 мм, уже внедрена в производство, другая часть, которая может быть использована для прокатки тонкостенных труб с S≤20 мм требует анализа и оценки с точки зрения их эффективности.
Задачей настоящей работы является рассмотрение особенностей потерь металла на пилигримовом стане и анализ технических решений по их снижению, особенно при прокатке тонкостенных труб с S≤20 мм.
Потери металла в технологическую обрезь на пилигримовом стане
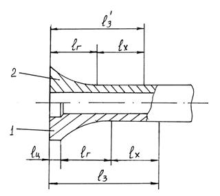
На рис. 1 приведена прокатанная на пильгерстане «плеть», которая состоит из основной годной части 2, длина которой ℓn является суммой мерных (кратных) частей, затравочного дефектного конца 1, длиной ℓnk . В свою очередь длина ℓnk складывается из ℓ1 - длины разлохмаченного конца и ℓ2 – длины участка повышенной разностенности.
Задний конец раската длиной ℓ3, удаляемый в обрезь, состоит из цилиндрического участка ℓц, собственно пилигримовой головки 3, длиной ℓr, и длины ℓх – участка с повышенной разностенностью, так называемого «хвоста».
Фактическая величина потерь металла в затравку и пильгерголовку зависит от размера прокатываемых труб: диаметра и толщины стенки, а относительная величина этих потерь от длины прокатываемых труб (одно, двух или трехкратной длины), причем с увеличением длины трубы относительная величина потерь металла снижается.

Рис. 1 Прокатанная «плеть» на пилигримовом стане:
1 – затравочный конец, 2 – основная годная часть трубы, 3 – пилигримовая головка
Масса обрези трубы на пилигримовом стане может быть определена по известной эмпирической формуле Ю.М. Матвеева:
, (1)
где -
- толщина стенки трубы на пилигримовом стане, м;
- масса 1 погонного метра трубы за пильгерстаном, кг/м;
- масса 1 погонного метра гильзы, кг/м.
Величина отрезаемого на пильгерстане затравочного конца должна быть минимальной и устанавливается, в зависимости от состояния затравочного конца (сильно растрепанный конец, наличие закатов, трещин, плен и повышенной разностенности) в пределах:
- от 200 мм (для труб с толщиной стенки Sn>12 мм);
- до 700 мм (для труб с толщиной стенки Sn<12 мм).
Фактически величина обрези всегда больше и по массе составляет 35-120 кг. Длина удаляемой пильгерголовки ℓr устанавливается в пределах от 400 до 500 мм, в зависимости от диаметра валков и при условии качественной обкатки (3-4 удара валков без подачи металла). Недостаточно качественно обкатанные пильгерголовки обрезаются на всю длину «уса». Фактические потери металла в пильгерголовку (ℓз) составляют от 75 до 200 кг.
В связи с применением на ТПА 5-12'' «Интерпайп НТЗ» непрерывнолитой круглой заготовки необходимо рассмотреть технические предложения по сокращению потерь металла в затравку и пильгерголовку.
Пути снижения потерь металла в затравку и пильгерголовку
Наиболее эффективным методом уменьшения массы затравки является предварительная подготовка переднего конца гильзы перед пилигримовой прокаткой. Среди различных методов такой подготовки наиболее эффективной является обкатка переднего конца гильзы на прошивном косовалковом стане в процессе прошивки [5].
Принципиальная схема обкатки передних концов гильз на выходной стороне косовалкового стана приведена на рис. 2. Особенностью процесса является нахождение гильзы одновременно в двух очагах деформации: основного, образованного приводными валками клети прошивного стана 1, и дополнительного, в обкатном устройстве 2, образованного холостыми валками 3. При этом обкатка переднего конца гильзы осуществляется холостыми валками 3 на цилиндрической оправке 4 за счет усилия со стороны приводных валков прошивного стана. Для сведения холостых валков 3 на размер калибра и разведения после обкатки используется гидроцилиндр. Холостые валки расположены попарно в двух кассетах, связанных с гидроцилиндрами.
Рис. 2 Схема оборудования для обкатки передних концов гильз на косовалковом стане:

1 – клеть косовалкового прошивного стана (элонгатор); 2 – обкатное устройство;
3 – холостые валки для обкатки переднего конца гильзы; 4 – цилиндрическая оправка
В Украине получил развитие метод предварительной подготовки передних концов гильз [5].
На рис. 3 приведена гильза с подготовленным передним концом.
Экспериментально установлено, что длина подготовленного переднего конца гильзы должна быть равна ℓ = (0,4 – 0,7) ℓr, где ℓr - длина переменной части пильгерголовки.
Максимальным ограничением ℓ является температурный фактор, который приводит к подстуживанию переднего конца гильзы тем более интенсивному, чем тоньше толщина стенки на торце.
Минимальным ограничением ℓ является эффективность улучшения затравочного режима за счет снижения времени затравки и снижения обрези переднего конца трубы.
При проведении исследований выполненных ДМетИ, ВНИТИ, Укргипромезом на стане элонгаторе ТПА 5-12'' были достигнуты следующие технологические параметры при обкатке переднего конца гильзы:
- обжатие по диаметру гильзы 25-30 %;
- обжатие по толщине стенки гильзы 40-60 %;
- длина подготовленного переднего конца гильзы 200-250 мм;
- угол наклона образующей конического подготовленного конца гильзы 7-120.
Межочаговая деформация гильзы при исследованных параметрах незначительна, что подтверждается обмерами в холодном состоянии гильз. При этом локальное увеличение диаметра гильзы не превышает 2 %, что не затрудняет процесса пилигримовой прокатки. Время деформации переднего конца гильзы в холостых валках при обкатке составляет 3-5 с и практически не влияет на производительность стана-элонгатора. Нагрузки на двигатель стана-элонгатора в процессе одновременной раскатки гильзы и обкатки ее переднего конца в холостых валках повышаются на 10-15 % по сравнению с процессом раскатки гильзы. Это повышение нагрузки соответствует ее увеличению при прошивке донышка стакана в момент окончания раскатки гильзы.
Суммарная эффективность этой технологии по данным Укргипромеза заключается в приросте 12 тыс. тонн труб (3,6 %) в объеме производства ТПА 5-12'' 330 тыс. тонн труб в год.

Рис. 3 Гильза с подготовленным передним концом
Проблемным остается вопрос уменьшения массы пилигримовой головки особенно при прокатке тонкостенных труб, основного сортамента ТПА 5-12''.
Основные способы уменьшения пилигримовой головки приведены в таблице 1. Рассмотрим более подробно эти способы и оценим их относительную эффективность.
Одним из методов уменьшения массы пильгерголовки является выполнение конического утолщения 2 на участке дорна 1 под пильгерголовкой (Способ 1).
При этом также достигается улучшение центровки гильзы на дорне перед и в процессе прокатки, что повышает точность труб по толщине стенки, особенно в конце прокатки.
Уменьшение (полная раскатка) пилигримовой головки гильзы 1 из основного металла (легированного и высоколегированного) может быть достигнута за счет применения дополнительного кольца 2 из углеродистой стали (Способ 2).
Частичное уменьшение массы пилигримовой головки может быть обеспечено за счет специальной конструкции дорнового кольца 2, имеющего уменьшенный диаметр в направлении заднего торца гильзы 1 (Способ 3).
Исследования показали, что при прокатке тонкостенных труб наиболее реальным является уменьшение объема и массы обрези за счет полной раскатки цилиндрического участка, длиной ℓц, примыкающего к переменной части головки (рис. 1).
Масса этого участка может быть определена по формуле:
Мц = Мпмг × ℓц, кг, (2)
где Мпмг – масса погонного метра гильзы, кг/м, приведена в таблице прокатки;
ℓц – длина цилиндрического участка пильгерголовки, м.
В результате экономится в среднем около 30 кг на одной пильгерголовке.
Уменьшение массы пилигримовой головки может быть также достигнуто за счет предварительной деформации заднего конца гильзы, длиной равной длине пилигримовой головки (Способы 4 и 5). При этом согласно способу 4 (вариант I) уменьшают толщину стенки заднего конца гильзы 1 при ее прошивке на косовалковом стане за счет сведения валков. Согласно II варианту (Способ 5) осуществляют уменьшение толщины стенки гильзы 1 со стороны ее внутреннего диаметра за счет перемещения оправки прошивного стана в конце процесса прошивки [9].
Таблица 1 Способы уменьшения пильгерголовки

Прокатка гильз встык широко применяется для получения толстостенных труб с толщиной стенки S≥20 мм (Способ 6). При этом последовательно после пилигримовой головки предыдущей гильзы 1 раскатывается передний затравочный конец последующей гильзы 2. При прокатке труб с S≥20 мм этот способ наиболее эффективен для снижения технологической обрези на пилигримовом стане. Известно применение способа частичной раскатки пилигримовой головки (Способ 7). При этом выбор величины недоката обусловлен получением такой толщины раската на заднем его конце, который бы обеспечивал снятие раската с дорна с помощью шиберного устройства. Выбор величины недоката при этом определяется экспериментально. При прокатке толстостенных труб с S≥20 мм применяется полная раскатка пилигримовой головки на сводном участке дорна (Способ 8). Этот способ прокатки применяется одновременно с способом прокатки гильз встык, при этом последний – является основным.
На основании анализа известных основных способов уменьшения массы пилигримовой головки можно оценить их относительную эффективность с помощью коэффициента Кэ, увеличение значения которого уменьшает эффективность конкретного способа (таблица 1). В результате этого наиболее эффективными являются способы 2, 6 и 8, имеющие Кэ = 1,0.
В результате анализа использования различных способов уменьшения массы пильгерголовки можно сделать вывод, что при прокатке труб с S≤20 мм способы 1, 3, 4, 5 могут применяться одновременно и дополняя друг друга повышать эффективность раскатки пильгерголовки.
Таким образом, для существенного снижения потерь металла в затравку при прокатке тонкостенных труб с S<20 мм необходимо осуществить предварительную подготовку переднего конца гильзы на прошивном косовалковом стане или элонгаторе. Для эффективного снижения массы пильгерголовки (для труб с S<20 мм) необходимо выполнить обкатку пильгерголовки без цилиндрического участка и применить дорн с увеличенным диаметром под пильгерголовкой.
На рис. 4 показана гильза на дорне перед пилигримовой прокаткой с подготовленным передним концом и дорн с коническим хвостовиком.

Рис. 4 Гильза на дорне перед пилигримовой прокаткой:
1 – гильза, 2 – передний конический конец гильзы, 3 – дорн, 4 – конический хвостовик дорна,
5 – дорновое кольцо, 6 – дорновая головка подающего аппарата
На рис. 5 приведены два варианта докатки пильгерголовки: 1 – с цилиндрическим участком и 2 – без него. По второму варианту достигается общее уменьшение длины обрези затравки
по сравнению с первым вариантом – l3.

Рис. 5 Два варианта заднего конца после прокатки:
1 – обычный вариант с цилиндрическим участком длиной lц,
2 – металлосберегающий вариант без цилиндрического участка
Суммарная эффективность предложенных решений по снижению потерь металла в технологическую обрезь: затравку и пильгерголовку заключается в приросте объема производства 18 тыс. тонн труб в год.
Выводы
1 Основным видом потерь металла на ТПА с пилигримовыми станами являются затравка и пилигримовая головка, достигающие 10 % и более от массы исходной заготовки, что обусловлено значительными деформациями (μ = 9-15) и наличием подпора на гильзу со стороны подающего аппарата в процессе прокатки.
2 Рассмотрены пути снижения потерь металла на пилигримовом стане, при этом проблема снижения массы затравки может быть наиболее эффективно решена за счет предварительной подготовки переднего конца гильзы.
3 При прокатке толстостенных труб с S≥20 мм проблема раскатки пильгерголовки успешно решается за счет использования способов прокатки гильз встык и раскатки пильгерголовки на свободном участке дорна. Наиболее острой является проблема уменьшения массы пильгерголовки при прокатке тонкостенных труб с S<20 мм, основного сортамента ТПА 5-12".
4 Выполнен анализ способов уменьшения массы пильгерголовки и осуществлена оценка их относительной эффективности. Суммарная эффективность от рассмотренных технических решений заключается в увеличении объема производства на 18 тыс. тонн труб в год.
Список литературы
1 Чернявский А.А., Березовский В.В., Угрюмов Ю.Д. Экономия металла при производстве труб нефтяного сортамента. – М.: Металлургия, 1987, – 304 с.
2 Пути снижения технологической обрези на пилигримовых станах / В.В. Березовский, Ю.Д. Угрюмов, Д.Ю. Угрюмов // Металлургическая и горнорудная промышленность, 2003, – № 3, – с. 59-64.
3 Состояние и перспективы развития процесса горячей пилигримовой прокатки труб / А.И. Козловский, В.Ф. Балакин, Ю.Д. Угрюмов Бюл. Ин-та «Черметинформация», Черная металлургия, – 2011, – № 10, – с. 68-77.
4 Пути снижения расхода металла на пилигримовых трубопрокатных установках / Ю.Д. Угрюмов, П.В. Дрожжа, А.В. Губинский [и др.] // Сучасні проблеми металургії. Наукові вісті. Т.11. Пластична деформація металів – Дніпропетровськ.: Системні технології – 2008. – с. 216-222.
5 Прокатка на установках с пилигримовыми станами труб из гильз с подготовленными передними концами / В.М. Друян, В.В. Перчаник, Ю.Д. Угрюмов и др. – Сб. научн. тр.: Нефтепромысловые трубы / ВНИИТнефть. – Куйбышев, 1974, вып. 4, с. 81-84.
6 Методы уменьшения массы пильгерголовки при горячей прокатке труб / Ю.Д. Угрюмов, В.Ф. Балакин, Д.Ю. Угрюмов, В.И. Семешкин // ОАО «Чермет- информация. Бюллетень «Черная металлургия». – 2011. – № 10. – с. 68-77.
7 Балакин В.Ф. Пути снижения массы пильгерголовки при горячей прокатке труб / В.Ф. Балакин, Ю.Д. Угрюмов, Д.Ю. Угрюмов // Теория и практика металлургии. – 2012. - № 1-2. – с 32-36.
8 Дорн с коническим хвостовиком / А.В. Праздников, А.М. Иоффе, А.А. Чернявский и др. – Бюллетень ЦНИИЧМ, 1963, № 21, с. 39-40.
9 Тартаковский Б.И. Агрегат для производства полых заготовок – деталей переменного сечения / Тяжелое машиностроение. – 1993. – № 1 – с . 14-16.